# 키클락 헬름 차트 다운로드
helm pull oci://registry-1.docker.io/cloudpirates/keycloak --untar
# Namespace 생성
kubectl create ns my-keycloak
# 키클락 설치
helm install my-keycloak . --namespace my-keycloak -f values.yaml
# 변경이 필요한 부분
| 변경 | |
| 노드포트 항목이 있을 경우 포트 수동 지정 |
template/service.yaml 파일 spec: type: {{ .Values.service.type }} ports: {{- if .Values.keycloak.httpEnabled }} - port: {{ .Values.service.httpPort }} targetPort: {{ .Values.service.httpTargetPort }} protocol: TCP name: http {{- if eq .Values.service.type "NodePort" }} nodePort: {{ .Values.service.nodePorts.http }} {{- end }} {{- else }} - port: {{ .Values.service.httpsPort }} targetPort: {{ .Values.service.httpsTargetPort }} protocol: TCP name: https {{- if eq .Values.service.type "NodePort" }} nodePort: {{ .Values.service.nodePorts.https }} {{- end }} {{- end }} selector: {{- include "keycloak.selectorLabels" . | nindent 4 }} {{- if .Values.service.trafficDistribution }} trafficDistribution: {{ .Values.service.trafficDistribution }} {{- end }} values.yaml 파일 service: type: NodePort httpPort: 8080 httpsPort: 8443 httpTargetPort: 8080 httpsTargetPort: 8443 annotations: {} trafficDistribution: "" nodePorts: http: 31038 https: "" |
| web admin 패스워드 |
values.yaml 파일 keycloak: ## @param keycloak.adminUser Keycloak admin username adminUser: admin ## @param keycloak.adminPassword Keycloak admin password adminPassword: "admin.123" |
더보기
# 키클락 ClusterIp -> NodePort 변경
kubectl patch svc my-keycloak -n my-keycloak -p '{"spec": {"type": "NodePort"}}'
# 서비스 상태 조회
kubectl get svc -n my-keycloak
#키클락 클라이언트 생성



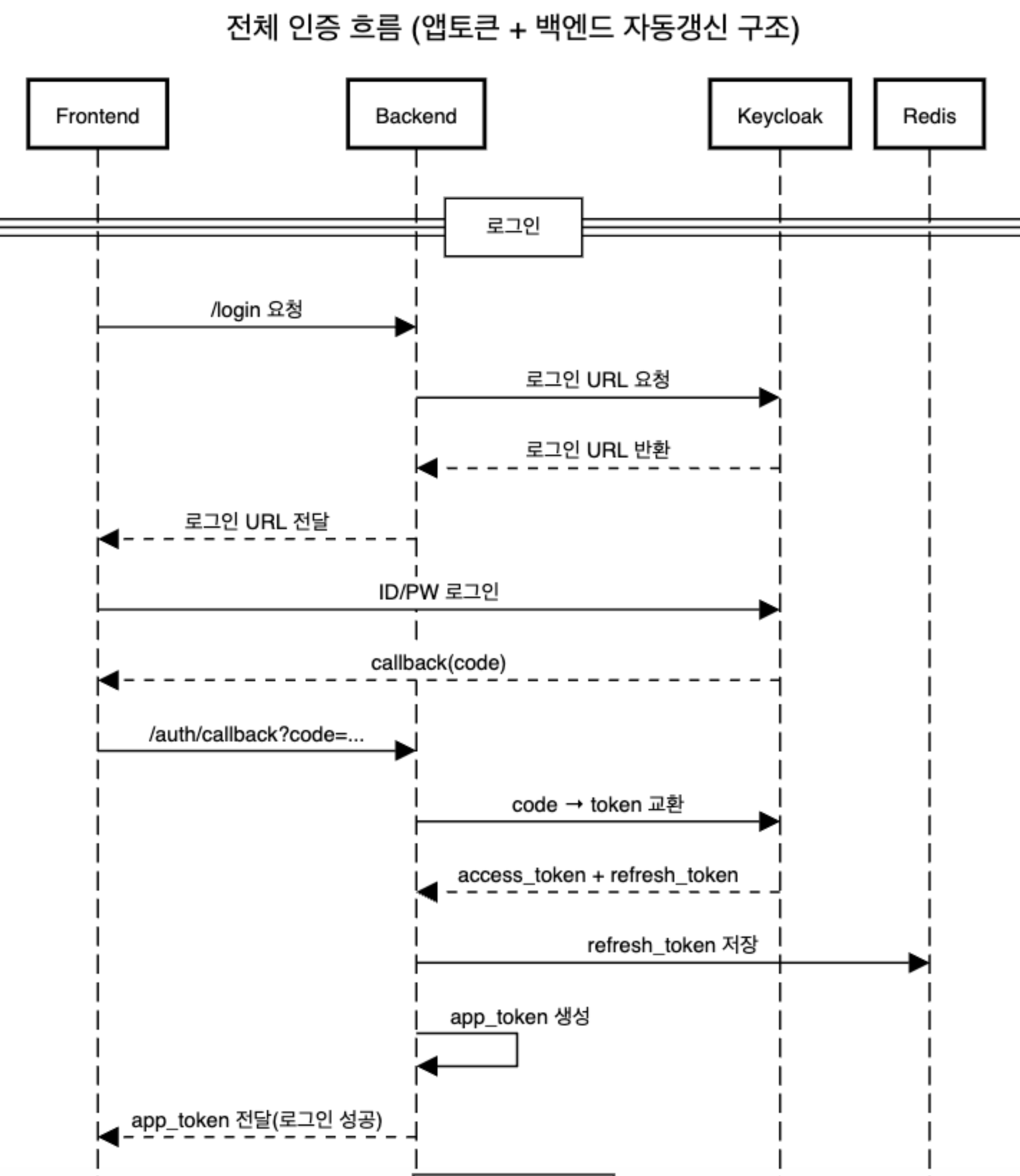
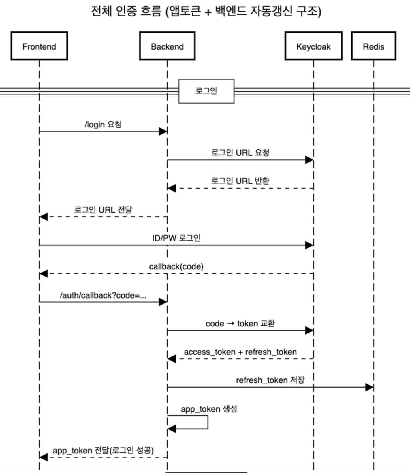
Keycloak 처리 비지니스 로직
1. 로그인

2. 사이트 이용

3. app_token 만료 또는 refresh_token 만료 임박

4. Keycloak 계정 이용 불가에 따른 로그아웃 처리

'DevOps' 카테고리의 다른 글
| Docker 원격 (0) | 2025.05.30 |
|---|---|
| APM, JAVA Agent (0) | 2024.03.06 |
| GitOps 참고글 (0) | 2024.02.23 |
| docker를 돌려보자 (0) | 2023.11.22 |